对空压机节能系统有需求的用户,一定都知道在一套完整的系统中,空压机和储气罐都是必备的一部分。作为了解这些主要部分的重要来源,设计图纸一般是能够起到帮助用户快速理解储气罐或空压机结构的一个很好方式。但在与很多用户的交流过程中,多数人对于储气罐的图纸缺乏相关的概念。甚至有一部分采购设备的用户都没有见过储气罐图纸。在本篇分享中,本人将会为大家介绍一张完整的储气罐图纸中存在的具体参数。
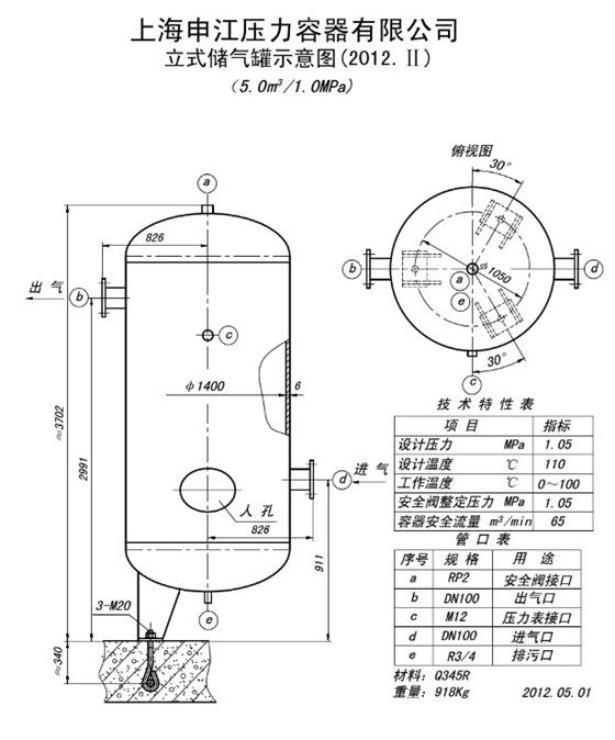
鉴于市面上储气罐厂家形形色色的图纸比较多,在本篇分享中本人选择了销量主流的申江储气罐厂家图纸作为参考的依据。如图是一张申江真空罐子的设计条件确认图。图纸将储气罐各个部分的尺寸都标得很清楚(俯视图和主视图)
cy888彩运 在图纸中,一般会罗列一些关键的并具有代表性的参数。比如说设计压力和温度、工作压力和温度,这一部分的技术属性归类于储气罐运行的环境条件,而工作应用的介质要标明是否有毒性,是否易燃易爆等等。而储气罐本身的容积大小以及耐腐蚀性、设计年限也是需要标示的。
在图纸的最后会有一些相关的管路规格等等,这个大部分厂家是会标的,细心的厂家还会标明一些注意事项,方便用户进行操作。
cy888彩运 基本上一张比较完备的储气罐图纸都会有这些内容。储气罐的图纸介绍到此告一段落,之后本人会给大家带来更多储气罐以及压力容器行业相关的知识。
文章来源:申江储气罐厂家 http://test99poker.com
400-823-6116

0.1m3-1.0m3储气罐
1.5m3-8.0m3储气罐
10m3-20m3储气罐